|
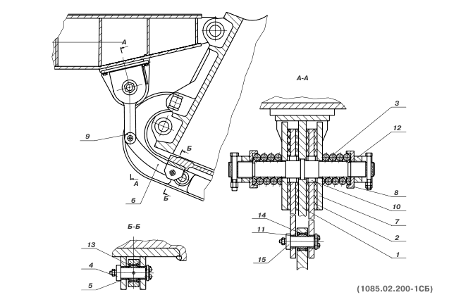
1085.02.200-1СБ
для ЭКГ-5
| Номер |
Наименование |
№ чертежа |
Кол-во |
Вес, кг |
| 1 |
Стойка |
1085.02.201 |
1 |
51,1 |
| 2 |
Кольцо |
1080.02.208-1 |
4 |
1,0 |
| 3 |
Пружина |
1080.02.217 |
2 |
5 |
| 4 |
Ось |
1085.02.215 |
2 |
1,0 |
| 5 |
Втулка |
1085.02.216 |
2 |
0,18 |
| 6 |
Рычаг |
1085.02.217 |
1 |
18 |
| 7 |
Ребро |
1085.02.218 |
2 |
11 |
| 8 |
Шайба |
1085.02.219 |
2 |
1 |
| 9 |
Диск |
1085.02.220 |
2 |
15 |
| 10 |
Втулка |
1085.02.221 |
2 |
0,99 |
| 11 |
Втулка |
1085.02.223 |
2 |
0,11 |
| 12 |
Гайка |
1085.02.225 |
2 |
2 |
| 13 |
Кольцо В6260С2А ГОСТ13941 -86 |
|
4 |
0,011 |
| 14 |
Подшипник ШС40 ГОСТ3635-78 |
|
2 |
0,33 |
|
 |
 |